Is the website displaying in the correct language? Please confirm or select a different language.
Your region has been set automatically. Please confirm or select a different region.
Rice Lake RL32011WB-T Single-ended Beam Load Cell
A direct replacement for the threaded style Avery Weigh-Tronix® Weigh Bar®, with improved stainless steel construction and a potted IP67 housing. Available in 1,250 or 2,500 lb capacities and comes with 20 ft of load cell cable.
Approvals
Some approval documents are available to view by clicking the icons below.
WARNING: Cancer and Reproductive Harm California Proposition 65
RL32011WB-T Load Cell Specifications
|
Full Scale Output: Output Resistance: Input Resistance: Material/Finish: Temperature: Seal Type: |
Safe Overload: Safe Sideload: Rated Excitation: Combined Error: Non-repeatability: Insulation Resistance: |
Cable Length: Cable Diameter: Cable Color Code: Warranty: Approvals: |
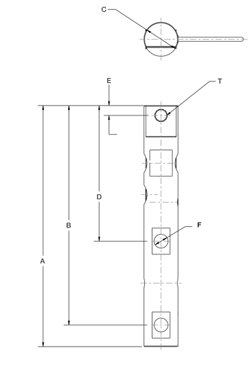
RL32011WB-T Load Cell Dimensions

| Rated Capacity | A | B | C | D | E | F | T |
|---|---|---|---|---|---|---|---|
| lb/in | |||||||
| 1,250 | 11.50 | 10.47 | 1.25 | 6.47 | 0.47 | 0.53 | 1/2-13 UNC |
| 2,500 | 11.50 | 10.47 | 1.62 | 6.47 | 0.47 | 0.66 | 5/8-11 UNC |
Resources/Downloads
Sales Literature
| Title | Collateral Wizard | Request | Download | Category | |
|---|---|---|---|---|---|
| Load Cell Wiring Guide | Request | Download | Load Cells | ||
| Load Cell Selection Guide | Request | Download | Load Cells|Weigh Modules | ||
| Load Cell and Weigh Module Selection Guide | Request | Download | Load Cells|Weigh Modules | ||
| Load Cell and Weigh Module Handbook | Request | Download | Load Cells|Weigh Modules |
Parts
| Part # | Description | List Price | Cart/Quote |
|---|---|---|---|
| 119796 | Load Cell,SEB RL32011WB-T 1.25k 1250lb 20ft 2mv/v 350 Ohm SST EW NTEP III 5 M IP67 Threaded |
List Price: $525.00 |
|
| 119797 | Load Cell,SEB RL32011WB-T 2.5k 2500lb 20ft 2mv/v 350 Ohm SST EW NTEP III 5 M IP67 Threaded |
List Price: $525.00 |