Your region has been set automatically. Please confirm or select a different region.
ITCM SS Isolated Tension Cell Weigh Module Kit
Complete Kit Includes
- Three or four ITCM assemblies with RL20000ST NTEP Certified S-beam load cells
- One JB4SS NEMA Type 4X stainless steel signal trim junction box
- 25 ft of hostile environment EL147HE SURVIVOR® load cell cable
Standard Features
- Capacities (per module): 100 to 5,000 lb
- Clevis mounts with nylon insulating washers
- PTFE lined rod-end ball joints
- Load cell is completely isolated from stray currents
- Grounding strap provides alternative path to ground
- Complete package for ease of installation
- Provides correct loading even in difficult installations
- Lower overall height compared to other isolated tension assemblies
Applications
- Suspended hoppers and tanks
- Mechanical scale conversions
- Use as a single module or in multiples
Approvals
Some approval documents are available to view by clicking the icons below.
WARNING: Cancer and Reproductive Harm California Proposition 65
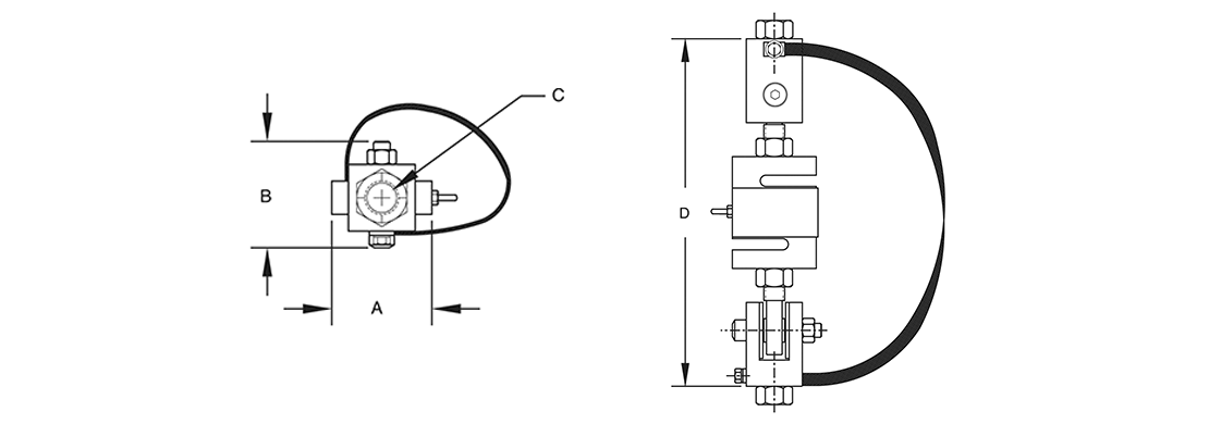
Stainless Steel Tension Load Cell Module
The ITCM Series utilizes several Rice Lake Weighing Systems components to provide an unmatched level of performance in tank and hopper weighing applications and mechanical scale conversions. The ITCM SS incorporates clevis and unique rod-end ball joint assemblies to reduce the overall length to less than half of the traditional tension cell mounts, while providing correct load alignment. In addition, the load cell is completely electrically isolated from stray currents, which are a major cause of load cell failure. To complete the design, a grounding strap connects the two clevis assemblies to further provide safety to your load cells.
ITCM SS Weigh Module Dimensions

| Load Cell Capacity | A | B | C | D | Single Module | 3-Module Kit | 4-Module Kit |
|---|---|---|---|---|---|---|---|
| lb/in | Part# | Part# | Part# | ||||
| 100 lb | 2.00 | 1.81 | 3/8-16 UNC | 7.00 (ref) | 46765 | 46735 | 46751 |
| 100 lb | 2.00 | 1.81 | 1/2-13 UNC | 7.00 (ref) | 46766 | 46736 | 46752 |
| 250 lb | 2.00 | 1.81 | 3/8-16 UNC | 7.00 (ref) | 46767 | 46737 | 46753 |
| 250 lb | 2.00 | 1.81 | 1/2-13 UNC | 7.00 (ref) | 46768 | 46738 | 46754 |
| 500 lb | 2.68 | 2.68 | 1/2-13 UNC | 9.50 (ref) | 46769 | 46739 | 46755 |
| 500 lb | 2.68 | 2.68 | 5/8-11 UNC | 9.50 (ref) | 46770 | 46740 | 46756 |
| 750 lb | 2.68 | 2.68 | 1/2-13 UNC | 9.50 (ref) | 46771 | 46741 | 46757 |
| 750 lb | 2.68 | 2.68 | 5/8-11 UNC | 9.50 (ref) | 46772 | 46742 | 46758 |
| 1000 lb | 2.68 | 2.68 | 1/2-13 UNC | 9.50 (ref) | 46773 | 46743 | 46759 |
| 1000 lb | 2.68 | 2.68 | 5/8-11 UNC | 9.50 (ref) | 46774 | 46744 | 46760 |
| 2500 lb | 2.68 | 2.68 | 5/8-11 UNC | 9.50 (ref) | 46775 | 46745 | 46761 |
| 2500 lb | 2.68 | 2.68 | 3/4-10 UNC | 9.50 (ref) | 46776 | 46746 | 46762 |
| 3000 lb | 3.37 | 3.37 | 3/4-10 UNC | 10.75 (ref) | 46777 | 46747 | 46763 |
| 5000 lb | 3.37 | 3.37 | 3/4-10 UNC | 12.00 (ref) | 46778 | 46748 | 46764 |
| * Load Rating is per module | |||||||
Resources/Downloads
Sales Literature
| Title | Collateral Wizard | Request | Download | Category | |
|---|---|---|---|---|---|
| ITCM Assembly Light to Medium Capacity Mount Assembly | Request | Download | Weigh Modules | ||
| Load Cell and Weigh Module Selection Guide | Request | Download | Load Cells|Weigh Modules | ||
| Load Cell Selection Guide | Request | Download | Load Cells|Weigh Modules |
Parts
Single-Module Kit
| Part # | Description | List Price | Cart/Quote |
|---|---|---|---|
| 46765 | Mount ASSY,ITCMSS 100lb 3/8-16NC SST Includes RL20000ST |
List Price: $892.00 |
|
| 46766 | Mount ASSY,ITCMSS 100lb 1/2-13NC SST Includes RL20000ST |
List Price: $892.00 |
|
| 46767 | Mount ASSY,ITCMSS 250lb 3/8-16NC SST Includes RL20000ST |
List Price: $892.00 |
|
| 46768 | Mount ASSY,ITCMSS 250lb 1/2-13NC SST Includes RL20000ST |
List Price: $892.00 |
|
| 46769 | Mount ASSY,ITCMSS 500lb 1/2-13NC SST Includes RL20000ST |
List Price: $892.00 |
|
| 46770 | Mount ASSY,ITCMSS 500lb 5/8-11NC SST Includes RL20000ST |
List Price: $892.00 |
|
| 46771 | Mount ASSY,ITCMSS 750lb 1/2-13NC SST Includes RL20000ST |
List Price: $892.00 |
|
| 46772 | Mount ASSY,ITCMSS 750lb 5/8-11NC SST Includes RL20000ST |
List Price: $892.00 |
|
| 46773 | Mount ASSY,ITCMSS 1K 1000lb 1/2-13NC SST Includes RL20000ST |
List Price: $892.00 |
|
| 46774 | Mount ASSY,ITCMSS 1K 1000lb 5/8-11NC SST Includes RL20000ST |
List Price: $892.00 |
|
| 46775 | Mount ASSY,ITCMSS 2.5K 2500lb 5/8-11NC SST Includes RL20000ST |
List Price: $892.00 |
|
| 46776 | Mount ASSY,ITCMSS 2.5K 2500lb 3/4-10NC SST Includes RL20000ST |
List Price: $892.00 |
|
|
46777
|
Mount ASSY,ITCMSS 3K 3000lb 3/4-10NC SST Includes RL20000ST
|
List Price: $962.00 |
|
| 46778 | Mount ASSY,ITCMSS 5K 3/4-10NC SST Includes RL20000ST |
List Price: $1,651.00 |
3-Module Kit
4-Module Kit
Replacement Parts
Replacement parts can only be purchased through trained and authorized dealers. You must be logged in as a dealer to view any available replacement parts.
To locate a dealer in your area, please call us at 1-800-472-6703 or fill out a request online.
Related Products

Rice Lake RL20000ST Stainless Steel S-beam Load Cell
For suspended applications or mechanical scale conversions, the Rice Lake RL20000 ST S-beam stainless steel load cell provides the additional protection of stainless necessary in dry, corrosive environments.